Die Autos des Emile Claveau – Immer dem Fortschritt voraus
Artikel verschenken
Jetzt abonnieren und Artikel verschenken
Machen Sie sich, Ihrer Familie und Ihren Freunden eine Freude: Mit einem Abo können Sie unbegrenzt Artikel verschenken.
PDF nicht verfügbar
Technischer Fehler
Das PDF konnte aus technischen Gründen nicht erzeugt werden. Bitte kontaktieren Sie den Kundensupport via Kontaktformular.
PDF drucken
«PDFs runterladen und drucken» ist exklusiv für unsere Premium-PRO-Mitglieder vorbehalten.
Premium Light
EUR/CHF
4.70 / Monat
Premium PRO
EUR/CHF
105.00 / Jahr
Für wahre Oldtimer-Fans
Premium PRO 2 Jahre
EUR/CHF175.00 (-16%)
Stark in Preis/Leistung
Weitere Premium-Angebote inkl. Kombi-Angebote finden Sie im Online-Shop.
Bereits Premium-Mitglied? Jetzt einloggen.
Zu Merkliste hinzufügen
Login
Premium-Abo kaufen
Premium Light
EUR/CHF
4.70 / Monat
Der Einsteigertarif
Premium PRO
EUR/CHF
105.00 / Jahr
Für wahre Oldtimer-Fans
Premium PRO 2 Jahre
EUR/CHF175.00 (-16%)
Stark in Preis/Leistung
Weitere Premium-Angebote inkl. Kombi-Angebote finden Sie im Online-Shop.
Bereits Premium-Mitglied? Jetzt einloggen.
Sie lieben grosse Fotos? Wir auch!
Und wir wollen sie auch gerne weiterhin mit Ihnen teilen: Einfach hier kostenlos registrieren.






















































































Sie haben nur
1 von 43
Bilder in hoher Auflösung gesehen
Information
Um mehr Bilder in hoher Auflösung zu sehen, müssen Sie sich einloggen.
Zusammenfassung
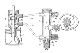
Émile Claveau sei einer jener Konstrukteure, die Autos nur für Autosalons bauen, hiess es einmal etwas geringschätzig in einer Zeitschrift. Tatsächlich waren seine Konstruktionen aber oft so fortschrittlich, dass sich kein Hersteller traute sie zu übernehmen. Was bleibt, sind selbsttragende Aluminiumkarosserien, vier einzeln aufgehängte Räder und ein einziger überlebender Prototyp. Dieser Artikel erzählt vom Schaffen Émil Claveaus und wie er den Fortschritt zum Fortschreiten gebracht hat.
Dieser Artikel enthält folgende Kapitel
- Ein philosophischer Ansatz
- Erstlingswerk: ein Mittelmotor-Sportwagen
- Geschlossen und luftgekühlt
- Wechsel zum Frontantrieb
- V8-Limousine aus Leichtmetall
- Der einzige Überlebende
Geschätzte Lesedauer: 18min
Leseprobe (Beginn des Artikels)
Obwohl das Automobil in Deutschland erfunden wurde, wurde es in Frankreich industriell entwickelt und aktiv gefördert. Die großen französischen Automobilhersteller hatten sich bereits vor der Jahrhundertwende selbstständig gemacht und erreichten bis 1902 ein fünfstelliges Jahresvolumen. Im Jahr 1905 produzierten die französischen Hersteller mehr als 20'000 Autos; 1913 waren es schon 45'000, wobei Peugeot und Renault mit jeweils etwa fünftausend Exemplaren an der Spitze lagen. Diese Pioniere – darunter Panhard & Levassor, De Dion und Renault – machten Frankreich schon früh zum Marktführer bei der Herstellung von Motoren und der Förderung des Automobils. Schon bald bauten die Franzosen größere und schnellere Autos, um an Straßenrennen von Stadt zu Stadt teilzunehmen. Sie gründeten den ersten Automobilclub, waren federführend bei der Gründung der ersten internationalen Vereinigung von Automobilclubs und organisierten 1906 das erste Grand-Prix-Rennen.
Diesen Artikel kostenlos weiterlesen?
Premium-Artikel freischalten
Bilder zu diesem Artikel

Information
Kostenlos anmelden und mitreden!
Das Anmelden dauert wenige Sekunden.

































Kommentare